في السيارات الكهربائية، المشكلة ليست دائماً في البطارية، بل في مكانها. تويوتا تعيد التفكير في ترتيب المكونات أسفل الأرضية، بحل بسيط قد يمنح المقصورة مساحة أكبر ويخفّض الكلفة دون تعقيد تقني.. أحياناً، الذكاء الحقيقي يبدأ من التفاصيل غير المرئية.. التفاصيل في

في كل سيارة كهربائية حديثة، هناك عنصر صامت يفرض كلمته على الجميع: البطارية. ليست فقط مصدر الطاقة، بل السقف الخفي الذي يحدد شكل المقصورة، وضعية الجلوس، وحتى ملامح السيارة من الخارج.

ومع تضخم أحجام البطاريات، تحولت الأرضية في كثير من السيارات الكهربائية إلى عبء هندسي، يرفع المقاعد، ويضغط على مساحة الرأس، ويدفع المصممين قسراً نحو هياكل أطول وأقل رشاقة. هنا تحديداً، تظهر فكرة تويوتا. فكرة لا تقوم على اختراع بطارية خارقة، ولا على وعود كثافة طاقة ثورية، بل على شيء أبسط وأذكى: إعادة ترتيب ما هو موجود أصلاً.

قصة Czinger 21C.. هايبركار بالذكاء الاصطناعي تعيد كتابة قواعد الصناعة

المشكلة التي لا يحب أحد الاعتراف بها

في السيارات الكهربائية الصغيرة والعائلية، كل سنتيمتر له ثمن. البطارية المثبتة أسفل الأرضية تفرض سماكة ثابتة لا يمكن تجاوزها بسهولة، ومعها تبدأ التنازلات: مقاعد أعلى من اللازم، سقف أقرب إلى الرأس، أو تصميم خارجي يبدو أثقل مما ينبغي. ورغم كل ما يُقال عن التغليف الذكي، تبقى الحقيقة واضحة: عندما تكون البطارية هي الأرضية، فإن حرية التصميم تصبح محدودة. تويوتا قررت التعامل مع المشكلة من زاوية مختلفة. بدل أن تسأل: كيف نجعل البطارية أنحف؟ طرحت سؤالاً أكثر واقعية: كيف نرتب ما حولها بشكل أفضل؟

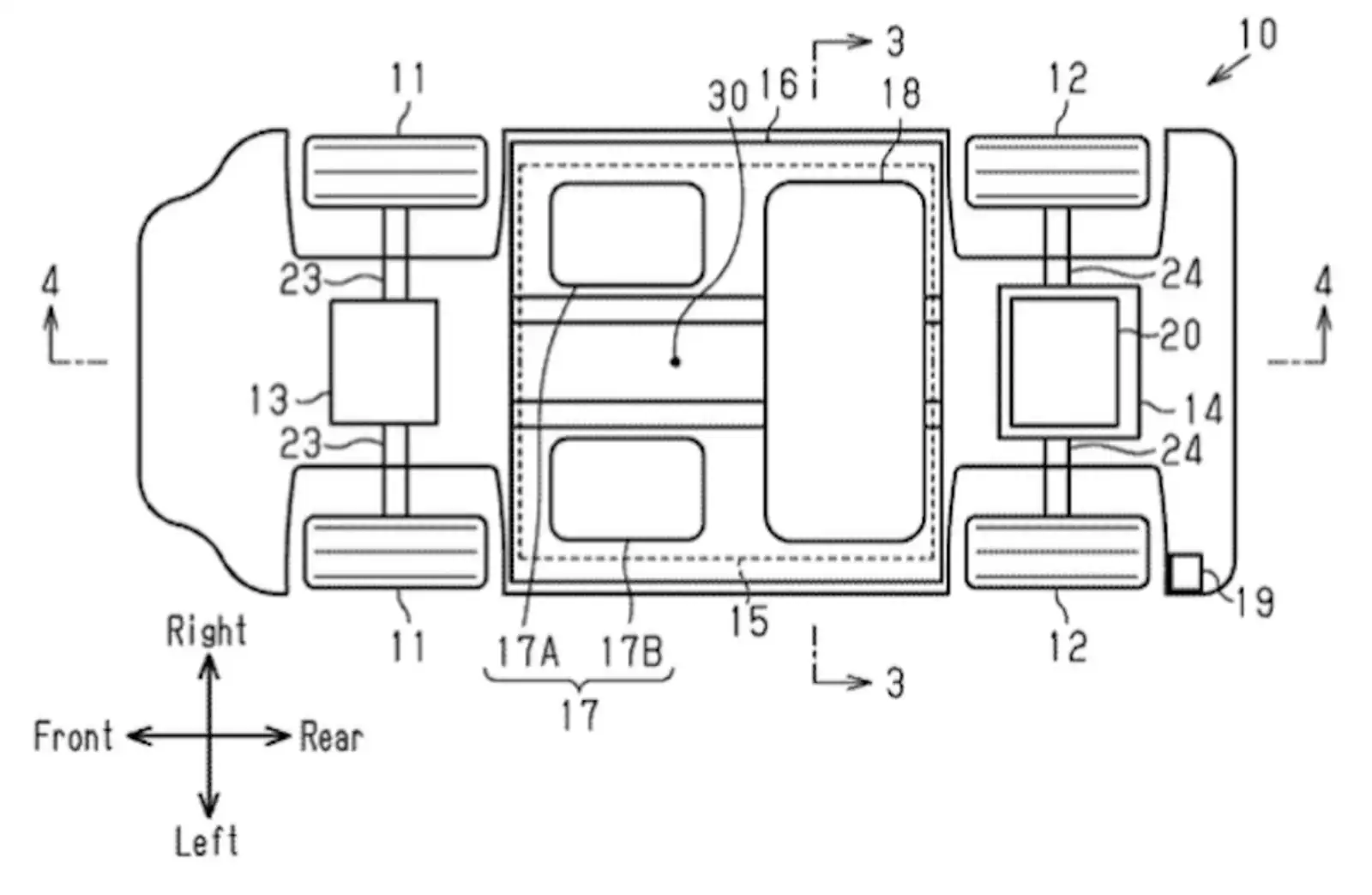
مخططات تويوتا تكشف حلا هندسيا منخفض الكلفة لمشكلة سماكة أرضية السيارات الكهربائية.

ترتيب أذكى بدل بطارية أنحف

في براءة اختراع مسجلة حديثاً في الولايات المتحدة، تقترح تويوتا مفهوماً يقوم على توزيع المكونات الكهربائية أسفل السيارة بطريقة طبقية مدروسة. البطارية تبقى في مكانها الطبيعي، لكن وحدات التحكم بالطاقة وصناديق التوصيل لا تعود مكدسة فوقها أو حولها بشكل عشوائي.

الفكرة هنا تشبه إعادة ترتيب غرفة مزدحمة: الأثاث نفسه، المساحة نفسها، لكن الإحساس بالاتساع مختلف تماماً. البطارية تؤدي دورين في آن واحد، مصدر طاقة وعنصر هيكلي يحمي المكونات الحساسة، بينما تُقصَّر مسارات الكابلات وتُجمع الأنظمة الكهربائية بشكل أكثر كفاءة.

النتيجة المتوقعة: أرضية أقل سماكة، من دون الدخول في مغامرة تغيير كيمياء البطارية أو رفع التكاليف.

تصميم براءة اختراع من تويوتا يعرض ترتيبا أكثر ذكاء لمكوّنات السيارة الكهربائية أسفل الأرضية.

ماذا يعني ذلك للسائق؟

إذا وصلت هذه الفكرة إلى سيارات الإنتاج، فالتغيير سيكون ملموساً حتى لمن لا يهتم بالتفاصيل التقنية. مقاعد أخفض قليلاً، مساحة رأس أرحب، وربما صف ثانٍ أكثر راحة في السيارات العائلية، وكل ذلك من دون زيادة أبعاد السيارة أو تحويلها إلى كروس أوفر مرتفعة فقط لإخفاء سماكة الأرضية. أما على مستوى التصميم، فقد تستعيد السيارات الكهربائية بعضاً من أناقتها المفقودة. سيارات أقل انتفاخاً، وأكثر قرباً من نسب السيدان والـHatchback التقليدية، بدل الاعتماد الدائم على الأشكال العمودية.

بين السعر والتجربة.. هل تنجح دراجة ADV الكهربائية خارج الطريق؟

عقل تويوتا التقليدي

اقتصادياً، هذا النهج يعكس فلسفة تويوتا المعروفة. الشركة لا تطارد الحلول الأغلى أو الأكثر ضجيجاً، بل تبحث عن أعلى فائدة بأقل مخاطرة. إعادة ترتيب المكونات: تخفف كلفة التطوير مقارنة بابتكار بطاريات جديدة. تسمح بتطبيق الفكرة على عدة طرازات ومنصات. تقلل المخاطر الصناعية في سوق يعاني أصلاً من هوامش ربح مضغوطة. في زمن تشهد فيه السيارات الكهربائية حرب أسعار وتنافساً محموماً، قد يكون هذا النوع من الابتكار الهادئ أكثر جدوى من أي قفزة تقنية غير مضمونة.

رسومات براءة الاختراع توضّح كيف تعيد تويوتا ترتيب البطارية والمكوّنات الكهربائية أسفل الأرضية، بهدف تقليل السماكة وتحسين المساحة الداخلية دون تغيير حجم البطارية نفسها.

ابتكار بلا ضجيج.. ونتائج ملموسة

تويوتا لا تعد بثورة، بل بتحسين ذكي. لا ترفع سقف التوقعات، بل تخفف سماكة الأرضية. وفي عالم السيارات الكهربائية، قد يكون هذا بالضبط ما يحتاجه المستهلك: سيارة أكثر راحة، أكثر توازناً، وأقل تكلفة فقط لأن أحدهم قرر أن يعيد ترتيب الأشياء بعقل بارد. هذا ليس ابتكاراً صاخباً، لكنه تذكير مهم بأن التقدم لا يكون دائماً في المختبر، بل أحياناً في طريقة التفكير.


هذا المحتوى مقدم من إرم بزنس

إقرأ على الموقع الرسمي


المزيد من إرم بزنس

منذ 5 ساعات
منذ 6 ساعات
منذ ساعتين
منذ 6 ساعات
منذ 7 ساعات
منذ 5 ساعات
فوربس الشرق الأوسط منذ 16 ساعة
اقتصاد الشرق مع Bloomberg منذ 8 ساعات
اقتصاد الشرق مع Bloomberg منذ 4 ساعات
اقتصاد الشرق مع Bloomberg منذ 11 ساعة
قناة العربية - الأسواق منذ ساعتين
قناة CNBC عربية منذ 5 ساعات
قناة CNBC عربية منذ 9 ساعات
اقتصاد الشرق مع Bloomberg منذ 8 ساعات